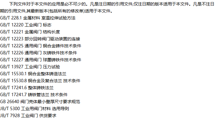
当前位置:首页 > 标准规范 > 法兰连接铁制和铜制球阀 <返回

法兰连接铁制和铜制球阀收藏

全部条文 强制性条文 标准信息
反馈
反馈类型:
  • 问题
  • 建议
企业平台 专家组 标准起草人
具体说明:
北京建科研软件技术有限公司
地址:北京市海淀区三里河路39号13号楼三层
电话:010-84276197-8302
网址:http://www.jsbzfw.com
http://www.bzfw.com.cn
http://www.bzfw.cn

服务热线

400-825-1113

服务时间:

08:30-18:00

服务专线(刘经理)

17601651916

18612856303

关注公众号

下载APP

登录

400-825-1113

在线时间: 08:30-18:00